頻率:12~52MHZ
尺寸:5.0x3.2mm
5032mm四腳石英晶體,PDI物聯網晶振,C5高質量晶振,歐美進口晶振,PDI無源晶振,石英晶振,無源晶振,石英貼片晶振,石英晶體諧振器,SMD晶振,水晶振動子,小尺寸晶體,尺寸5.0x3.2mm,頻率范圍12~52MHZ,高質量晶振,低耗能晶振,低損耗晶振,低成本晶體,環保晶振,物聯網晶振,智能手機晶振,數字設備晶振,儀器設備晶振,視聽設備晶振,移動通信晶振.
5032mm四腳石英晶體,PDI物聯網晶振,C5高質量晶振特點:
陶瓷4墊片石英晶體
C5的成本很低,小尺寸貼片晶體
用于緊身板應用。
符合RoHS無鉛
5032mm四腳石英晶體,PDI物聯網晶振,C5高質量晶振,歐美進口晶振,PDI無源晶振,石英晶振,無源晶振,石英貼片晶振,石英晶體諧振器,SMD晶振,水晶振動子,小尺寸晶體,尺寸5.0x3.2mm,頻率范圍12~52MHZ,高質量晶振,低耗能晶振,低損耗晶振,低成本晶體,環保晶振,物聯網晶振,智能手機晶振,數字設備晶振,儀器設備晶振,視聽設備晶振,移動通信晶振.
5032mm四腳石英晶體,PDI物聯網晶振,C5高質量晶振特點:
陶瓷4墊片石英晶體
C5的成本很低,小尺寸貼片晶體
用于緊身板應用。
符合RoHS無鉛
5032mm四腳石英晶體,PDI物聯網晶振,C5高質量晶振 參數表
| PARAMETER |
MINI- MUM |
MAXI- MUM |
UNITS | |||||
| Center Frequency | 12 | 52 | MHz | |||||
| Maximum Series Resistance (See Note 3) | 70 | Ohms | ||||||
| Frequency Stability at +25°C (See Note 2) | + 10 | +50 | ppm | |||||
| Frequency Stability Over Temperature | +10 | +50 | ppm | |||||
| Operating Temperature Range (See Note 2) | -20 to 70 | °C | ||||||
| Storage Temperature Range | -40 to 85 | °C | ||||||
| Drive Level | 300uW | |||||||
| Shunt Capacitance | 7.0 | pF | ||||||
| Motional Capacitance | Customer Specified | |||||||
| Load Capacitance |
18 (Customer Specified) |
pF | ||||||
| Aging per year | +5 | ppm | ||||||
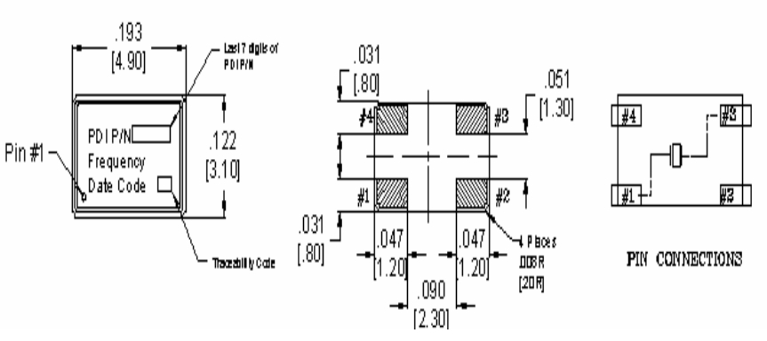
5032mm四腳石英晶體,PDI物聯網晶振,C5高質量晶振 尺寸圖
深圳市龍湖電子有限公司
服務熱線:86-0755-29952551
手機聯系:136-3294-3514
Q Q聯系:969080538
郵 箱:longhusz@163.com
地 址:深圳市寶安區新安街道安樂社區二街


